2 Digitalt fjernsyn
Digital behandling av levende bilder er en komplisert teknologisk prosess. Levende bilder inneholder store mengder informasjon. Standard analoge fjernsynssignaler inneholder eksempelvis informasjon som svarer til 200-300 millioner bit per sekund, tilsvarende 17.000 sider med tekst. Det er først de seneste årene at de kretsene som kan behandle så omfattende mengder informasjon er blitt så rimelige at de har kunnet tas i bruk i forbrukerelektronikk. Den teknologiske utviklingen innen distribusjon av levende bilder i digitalt format har derfor ligget noe etter utviklingen av digital distribusjon av tekst, stillbilder, lyd mv.
Ved digitalt fjernsyn starter utsendingen hos et kringkastingsselskap eller en annen tjenestetilbyder som produserer tradisjonelle fjernsynsprogram, Internett, fjernundervisning, banktjenester mv. Programforetakets data (bilde, lyd eller annen informasjon) omsettes til såkalt binær informasjon eller bit (dvs. kombinasjoner av 0- og 1-tall) i en prosess som kalles modulasjon. De ulike programforetakenes signaler samles til ett enkelt signal i en såkalt multiplekser. Den informasjonsmengden levende bilder inneholder, egner seg ikke i utgangspunktet for distribusjon over eteren eller via satellitt eller kabel. Før videresending komprimeres derfor signalene slik at bildestrømmen bare oppdateres suksessivt med de endringene som er nødvendige fra det foregående bildet i en sekvens. Signalet overføres fra multiplekseren til et senderselskap som sender signalet ut til seerne via sine senderstasjoner, eventuelt sammen med andre multiplekser.
Signalet når seeren via en antenne (vanlig takantenne, bordantenne, parabolantenne eller kabel) som er koblet til en mottaker/dekoder (også kalt »set-top-boks» eller IRD (Integrated Receiver Decoder). Dekoderen dekomprimerer signalet og omformer det til analoge signaler slik at signalene kan mottas på et normalt analogt fjernsyn i form av lyd, bilde og tilleggsinformasjon (SI).
Selv om distribusjonen av program i digitale fjernsynsnett isolert sett består i enveiskommunikasjon, gir det likevel muligheter for interaktivitet i kombinasjon med andre distribusjonskanaler. Returkanalen fra seeren til sendeselskapet må da foregå via et annet nett enn det som formidler fjernsynssignalene til seeren. Når seerne benytter interaktive tjenester, for eksempel deltar i avstemninger eller konkurranser, kan returkanalen for eksempel gå via dekoderens telefonmodem, over telefonnettet eller mobiltelefonnettet.
2.1 Digitalt kontra analogt fjernsyn
Digitalt fjernsyn har en rekke fordeler som analogt fjernsyn ikke kan tilby. Hovedgevinsten består i at digitalt fjernsyn utnytter frekvensressursene langt bedre enn analogt fjernsyn. Innenfor det frekvensspekteret som kreves for overføring av en analog fjernsynskanal i dagens PAL-standard regner man vanligvis med at det er rom for fire digitale fjernsynskanaler med tilsvarende kvalitet (standarddefinisjonsfjernsyn - SDTV). Med en kvalitet tilsvarende VHS video, såkalt lavdefinisjonsfjernsyn (LDTV), kan man få rom for ytterligere fjernsynskanaler. Det er videre sannsynlig at utviklingen innenfor komprimeringsteknologi på sikt vil gi enda bedre frekvensutnyttelse.
Distribusjonskostnadene per kanal (definert som den kapasitet som trengs for å formidle SDTV) er betydelig lavere for digitalt fjernsyn enn for analogt fjernsyn. Dette har sammenheng med at man ved digital distribusjon kan klare seg med færre og svakere sendere og omformere og dermed får lavere etablerings- og driftskostnader og energiforbruk. I henhold til de foreløpige beregninger NRK har lagt fram, vil distribusjonskostnader for kapasitet som gjør det mulig å formidle to digitale kanaler svare til kostnadene ved distribusjon av en analog kanal.
Digitale sendinger gir langt mer robuste signaler enn analoge. De digitale signalene inneholder tilleggsinformasjon som skal kompensere for ulike støykilder. Mottakerens dekoder behandler signalet og korrigerer »feilene» ved hjelp av denne tilleggsinformasjonen. Digitalt fjernsyn er dermed utstyrt slik at det vil fjerne mange av dagens problemer knyttet til dårlig bildekvalitet som følge av signalforvrengning. I tillegg vil digitale signaler, enkelt forklart, forsterkes i områder hvor analoge signaler i dag blir forstyrret av reflekser.
Digitalt fjernsyn muliggjør mottak av tilleggstjenester ved siden av fjernsynsprogrammer. Eksempelvis vil det kunne bli aktuelt med langt mer avanserte tekst-tv-tjenester, fjernundervisning, Internettjenester mv. Digitalt fjernsyn vil dessuten gjøre det enklere å legge hjelpefunksjoner til rette for døve, personer med nedsatt hørsel mv.
Digitalt fjernsyn gir også en viss mulighet for interaktivitet. Digital kabel er særlig velegnet for interaktive tjenester som Internett. Videre egner satellittformidling seg bedre enn jordbundne nett pga. overlegen overføringskapasitet, mens man med hensyn til returkanalen stiller noenlunde likt. Ut over tekst-tv og bruk av telefon i separat nett har det til nå ikke vært mulig å benytte interaktive tjenester i fjernsynssammenheng. Fjernsynet er innarbeidet først og fremst som et medium for enveiskommunikasjon der man først og fremst lar seg underholde og/eller opplyse. Det er derfor usikkert hvorvidt publikum vil være interessert i å benytte seg av interaktive tjenester via fjernsyn. På sikt vil derfor trolig utvalget og kvaliteten på fjernsynstjenestene være den viktigste motivasjonen for overgang til digitalt fjernsyn.
Ved jordbundet digitalt fjernsyn vil det i liten utstrekning være nødvendig med utskiftning eller anskaffelse av nye antenner. I realiteten vil det i de fleste tilfeller være tilstrekkelig med en liten antenne av bordmodell som knyttes til dekoderen. Dette vil gjøre det mulig med såkalt portabelt mottak, dvs. at fjernsynet uten problemer vil kunne flyttes rundt i hjemmet. Digitalt satellittfjernsyn forutsetter en egen parabolantenne, mens digitalt kabelfjernsyn forutsetter at kabelanlegget er klargjort for mottak av digitale sendinger - i begge tilfeller må apparatet kobles til et fast uttak.
Såkalt mobilt mottak av digitalt jordbundet fjernsyn er allerede prøvd ut og demonstrert. Det hevdes at det er mulig med mobilt mottak i hastigheter inntil 275 km/t. Mobilt mottak av digitalt satellittfjernsyn (eller digitalt kabelfjernsyn) er derimot praktisk vanskelig, særlig i tuneller.
Digitalt fjernsyn muliggjør fleksibilitet mht. billedkvaliteten. De tekniske forutsetningene ligger til rette for distribusjon av fjernsynssendinger med høy billedoppløsning (såkalt HDTV) og sendinger i 16:9 format. Nettet er dynamisk i den forstand at kringkastingsselskapene kan velge å samtidig sende for eksempel to standard kvalitet sendinger og en høykvalitets sending. Det er likevel verdt å merke seg at høyere billedkvalitet legger beslag på kapasitet. HDTV forutsetter også at mottakerens dekoder er utstyrt for å ta i mot slike sendinger og trolig også en mer robust takantenne. En sending med høy teknisk kvalitet vil derfor enten redusere antallet digitale kanaler det er mulig å formidle på samme tidspunkt, eller forutsette at en eller flere av de kanalene som sendes ut samtidig legger beslag på relativt lite kapasitet. Med den fleksibiliteten som et digitalt nett gir, vil det i prinsippet være mulig å sende HDTV innenfor avgrensede tidsrom. Dette forutsetter imidlertid at kringkasteren enten fritt disponerer en multiplekser alene eller sender etter overenskomst med de andre kringkasterne som opererer i samme multiplekser. Det er sannsynlig at kringkastingsselskapene i første omgang vil prioritere antall kanaler framfor høyere kvalitet.
Overføring av digitale jordbundne fjernsynssignaler tillater bruk av såkalte enfrekvensnett (såkalte SFN). Slike nett kjennetegnes ved at alle sendere som overfører samme program benytter samme frekvens. Denne teknikken bidrar til ytterligere frekvenseffektivitet, tillater enklere frekvensplanlegging og utbygging av supplerende mindre sendere i områder som ikke dekkes av hovedsendere. Enfrekvensnett vil dessuten legge forholdene bedre til rette for mobilt mottak.
Det knytter seg imidlertid flere usikkerhetsmomenter og potensielle problemer til innføring av digitalt jordbundet fjernsyn. I denne sammenheng er det primært de økonomiske snarere enn de teknologisk bestemte utfordringene som er interessante.
Digitalt jordbundet fjernsyn forutsetter utbygging av særskilt infrastruktur. Utbygging av sendernettene forutsetter at det er en etterspørsel blant kringkastingsselskapene etter den kapasiteten et slikt nett kan tilby. Kringkastingsselskapene er på sin side avhengig av at det eksisterer, eller vil utvikles et kundegrunnlag (reklame, abonnenter, lisensbetalere) som kan finansiere distribusjonskostnadene og eventuelle økte programkostnader. Digitalt satellittfjernsyn er allerede tilgjengelig for norske fjernsynsseere. Norkring AS ønsker å bygge ut et digitalt jordbundet nett og mener åpenbart at det vil være økonomi i en slik utbygging. Digitalt fjernsyn medfører ekstra kostnader som det i siste instans er seeren som betaler for (i form av kringkastingsavgift, abonnementsavgift, eller prisøkninger som følge av vareprodusentenes markedsføringsutgifter).
Digitalt fjernsyn krever at hver enkelt seer må skaffe seg og betale for en digital dekoder. En dekoder vil trolig koste mer eller mindre det samme uavhengig av distribusjonsform. En dekoder for jordbundne sendinger koster i dag ca. 5.000 SEK i Sverige. Så snart produksjonen av dekodere når et visst volum, er det imidlertid å vente at prisen faller.
Parallell analog og digital distribusjon vil sannsynligvis være nødvendig i en overgangsperiode på minimum 10-15 år (et fjernsynsapparats normale levetid) før analoge sendinger kan avvikles. Dersom en eller flere aktører subsidierer prisen på dekodere, vil det kunne forkorte denne overgangsperioden noe. Følgelig må kringkasterne dekke distribusjonskostnader i det digitale nettet i tillegg til kostnadene forbundet med distribusjon av eksisterende analogt fjernsynstilbud i en tilsvarende periode. Dette er kostnader som i siste instans belastes forbrukeren.
Utbygging av nett for digitalt jordbundet fjernsyn vil i likhet med analogt fjernsyn bety et fortsatt press på knappe frekvensressurser. Utbyggingen forutsetter blant annet at virksomheter som i dag sender på disse frekvensene må flytte. Dette vil kunne innebære til dels betydelige kostnader for de virksomhetene som må endre frekvens. For digitalt kabel- og satellittfjernsyn er det ingen mangel på kapasitet. Her er det først og fremst etterspørselen snarere enn frekvensmangel som vil sette grenser for hva nettene kan romme.
2.2 Analog distribusjon
De eksisterende analoge jordbundne nettene består av et relativt lavt antall høyeffekt hovedstasjoner og et stort antall omformere (mindre sendere) som tar imot signaler fra hovedsenderne og som dekker mindre områder. I tillegg til jordbundet distribusjon i bakkenettet blir NRK1, NRK2, TV2, og TVNorge distribuert både analogt og digitalt via satellitt.
Sendernettet for NRK1 består av 48 hovedsendestasjoner og 2635 omformere. I tillegg benyttes et eget programlinjenett eller radiolinjenett som overfører TV- og radioprogram til alle senderne. Dekningen over bakkenettet er 99,8% for NRK1.
Sendernettet for NRK2 består av bare 25 sendere. Isolert gir disse en dekning på 27% av befolkningen. Bakkesenderne er imidlertid ment å være et supplement til satellitt- og kabeldekningen, som utgjør primærdekningen. Sammen med private parabolanlegg og kabelnett utgjorde den samlede dekningen for NRK2 etter NRKs beregninger i 1997 ca. 80%.
TV2 distribueres i et satellittmatet bakkesendernett bestående av om lag 440 sendere og omformere. Den totale dekningen er ca. 95%, hvorav 92% dekkes av bakkesendernettet og de resterende 3% kun kan ta inn sendingene direkte via satellitt eller i kabelnett.
TVNorge distribueres primært via satellitt og kabelnett. I tillegg videreformidles TVNorges sendinger i 24 lokalfjernsynskonsesjonærers bakkesendere. Dekningsgraden er samlet på ca. 80 %.
Ved utgangen av 1998 var det 29 konsesjonærer for allment bakkesendt lokalfjernsyn, hvorav 26 var i drift. Av disse benyttet samtlige bakkesendere i distribusjonen. I tillegg hadde 20 lokalfjernsynskanaler konsesjon til å benytte NRK2s lokale bakkesendere utenfor de tidspunkt da NRK2 selv har sendinger.
Av Statistisk sentralbyrås publikasjon Norsk Mediebarometer 1998 går det fram at kombinasjonen satellittmottakere og kabelnett i dag dekker ca. 65% av befolkningen. Andelen som oppgir at man har tilgang til kabelanlegg/fellesantenne er ca. 45%, et tall som har holdt seg stabilt de siste tre årene, mens andelen som oppgir at man har tilgang til privat parabolantenne øker jevnt (jf Tabell 2.1 ovenfor. Summen av de ulike systemene for mottak av fjernsynssignaler i tabellen overstiger 100% fordi mange husstander har mer enn ett enkelt system.)
Tabell 2.1 Andel som har tilgang til ulike fjernsynsantennesystemer i hjemmet. 1991-1998. Prosent
| 1991 | 1992 | 1994 | 1995 | 1996 | 1997 | 1998 | |
| Privat parabolantenne | 5 | 10 | 10 | 14 | 15 | 19 | 20 |
| Kabelanlegg | 29 | 31 | 34 | 36 | 38 | 38 | 38 |
| Fellesantenne | 7 | 6 | 7 | 8 | 7 | 6 | 7 |
| Ordinær antenne med flere kanaler | 19 | 34 | 41 | 55 | 56 | 52 | 54 |
Kilde: Statistisk sentralbyrå
Tabell 2.2 Andel som har tilgang til ulike fjernsynsantennesystemer hjemme etter bosted og landsdel. 1998. Prosent
| Privat parabolantenne | Kabelanlegg | Fellesantenne | Ordinær antenne med flere kanaler | |
| Alle | 20 | 38 | 7 | 54 |
| Tettbygd < 100.000 | 7 | 63 | 13 | 42 |
| Tettbygd 20.000-99.000 | 11 | 55 | 8 | 46 |
| Tettbygd > 20.000 | 20 | 37 | 6 | 56 |
| Spredtbygd | 39 | 5 | 2 | 66 |
| Oslo/Akershus | 9 | 70 | 14 | 44 |
| Østlandet ellers | 21 | 40 | 5 | 50 |
| Agder/Rogaland | 25 | 26 | 5 | 53 |
| Vestlandet | 29 | 18 | 3 | 63 |
| Trøndelag | 20 | 32 | 10 | 65 |
| Nord-Norge | 21 | 24 | 5 | 60 |
Kilde: Statistisk sentralbyrå
Som det vil gå fram av tabell 2.2 ovenfor er det imidlertid relativt betydelige geografiske og demografiske forskjeller hva angår utbredelsen av ulike typer anlegg for mottak av fjernsynssignaler. Andelen som oppgir å ha kabel/fellesantenne øker proporsjonalt med befolkningstetthet, mens andelen som oppgir å ha parabolantenne avtar. Det motsatte forhold gjør seg gjeldende for spredtbygde strøk. Dersom man ser på forskjeller mellom landsdelene, er forskjellene noe mindre tydelige. Klarest er skillet mellom Østlandsområdet (særlig Oslo/Akershus) og landet for øvrig.
Teoretisk vil kombinasjonen satellitt og kabel samlet kunne oppnå en dekning på 98%, men den rådende oppfatning i dag er at dekningsgraden ut fra dagens forutsetninger maksimalt vil kunne øke til ca. 70%-75%. Det er uansett liten grunn til å tro at disse distribusjonsformene vil oppnå en samlet dekningsgrad på nivå med et jordbundet nett. Betydelig utbygging av kabelnett utover dagens nivå vil neppe være regningssvarende, mens ytterligere spredning av satellittmottakere forutsetter at publikum er motivert til å investere i slikt utstyr og at ulike tekniske hindre løses (satellittskygge mv.). Fjernsynssignaler fra de satellittposisjonene som retter seg mot blant annet norske seere gir gradvis lavere elevasjonsvinkel jo lenger nord man kommer. Dette betyr at man ideelt sett bør ha større og mer kostbar parabolantenne jo lenger nord man er bosatt. Topografiske forhold og rent lokale forhold som hus og trær fører dessuten mange plasser til mottaksproblemer eller støy. Beregninger fra Norkring viser at det er ca. 20-25% av befolkningen som ikke kan eller vil ta imot satellittsendinger. Disse fordeler seg med ca. 2-3% som bor i områder hvor mottak via satellitt ikke er mulig (satellittskygge), ca. 10-15% som ikke kan ta inn signalene som følge av skjerming fra bygninger, trær mv. og de øvrige som enten ikke får tillatelse eller ikke ønsker å sette opp antenner (pga. forhold ved bebyggelsen, estetiske hensyn mv.). Ca. 20 % av befolkningen har i dag utstyr for direkte mottak av fjernsynssignaler via satellitt. Man regner med at denne andelen vil øke med 1-2% per år i noen år framover.
2.3 Digital distribusjon
Digitalt fjernsyn kan benytte samme type distribusjonskanaler som analogt fjernsyn (dvs. bakkesendere, kabel eller satellitt). I tillegg eksisterer andre distribusjonskanaler (mikrobølger og Telenett) som kan benyttes, men som det knytter seg visse begrensninger eller problemer til. Det er rent teknisk heller ingenting som hindrer kombinasjoner av de forskjellige kanalene. Forhold bl.a. knyttet til konkurranse og ulike aktørers valg av proprietære standarder (dvs. tekniske standarder som ikke lar seg forene med andre standarder) gjør likevel en fullverdig integrasjon av kanalene mindre sannsynlig i overskuelig framtid (jf. kap 2.5).
2.3.1 Digitalt jordbundet nett
Kostnadene forbundet med utbygging av et nett for digitalt jordbundet fjernsyn avhenger av hvor omfattende dekning man bygger ut for. Kostnader ved en utbygging begrenset til landets mest befolkningstette områder er relativt lite kostnadskrevende, fordi et mindre antall sendere kan dekke en stor del av befolkningen (ca. 50-60%). En slik dekning vil enkelt kunne oppnås innen 2 år. På grunn av den spredte bosettingen vil dekningen utover dette medføre stadig høyere utbyggings- og dermed distribusjonskostnader. De kostnadsoverslag som man til nå har basert seg på forutsetter en gradvis utbygging over 10 ½ år. En forsering av utbyggingen er mulig, men vil naturligvis medføre økte distribusjonskostnader på et tidligere tidspunkt.
Etter beregninger Norkring har gjort, vil det kostnadsmessig, med utgangspunkt i dagens teknologi, være fullt ut forsvarlig å bygge ut et digitalt jordbundet fjernsynsnett til 95% dekning. Denne løsningen baserer seg på programfremføring via en kombinasjon av fastnettmatet og satellittmatet bakkesendernett. Det er teknisk mulig, men svært kostnadskrevende å nå de siste 5% av befolkningen med dagens teknologi. I løpet av perioden analog og digitalt fjernsyn sendes parallelt (anslagsvis 10-15 år) vil man derfor måtte vurdere om ny og rimeligere distribusjonsteknologi kan være et alternativ til utbygging av normale digitale sendere for de siste 5% av befolkningen. Departementet legger til grunn at en eventuell utbygging av et digitalt nett for jordbundet fjernsyn på sikt skal dekke hele befolkningen.
2.3.2 Digitalt kabelnett
Etablering av kabelanlegg forutsetter et tilstrekkelig stort antall husholdninger innenfor et begrenset område som kostnadene kan fordeles på. Utbygging av slike anlegg er derfor normalt ikke regningssvarende i grisgrendte strøk. Tabell 1 ovenfor viser at utbredelsen av kabelanlegg har stoppet opp de siste årene, og man regner ikke med vesentlig utbygging av kabelanlegg for fjernsyn utover dagens dekningsgrad på ca. 38%.
I prinsippet eksisterer det to alternativer for digital distribusjon til forbrukeren i kabel. Man kan enten basere seg på digital distribusjon helt fram til brukeren, eller omforme de digitale signalene til analog form i hovedstasjonene slik at forbrukeren mottar analoge signaler som i dag. Den første løsningen innebærer at forbrukeren vil måtte skaffe en dekoder. Dette vil være et fullverdig digitalt fjernsynstilbud med mulighet for interaktivitet som ikke overgås av andre distribusjonsformer. Den sistnevnte løsningen kan ikke betraktes som ren digital distribusjon fordi den vil mangle den fullverdige digitale tjenestens kvalitet, 16:9 format og eventuelle digitale tilleggstjenester som tilbys over nettet. Gjennomføring av TV-standard-direktivet (95/47/EF) i norsk lovgivning vil dessuten pålegge kabelanlegg av en viss størrelse å videresende tjenester det mottar i 16:9 format i dette formatet (jf. Ot prp nr 51 (1998-99) Om lov om standarder for overføring av fjernsynssignaler). For disse nettene vil sistnevnte løsning ikke være aktuell.
Avhengig av anleggets alder og kapasitet vil det altså i mange tilfeller være nødvendig å oppgradere infrastrukturen for å kunne motta digitale sendinger i kabel. Abonnenter i eldre anlegg vil derfor i mange tilfeller påføres utgifter dersom anlegget oppgraderes. I moderne anlegg med god kapasitet vil omkostningene være begrenset til nødvendig oppgradering av anleggets hovedstasjon, i eldre anlegg med lav kapasitet vil oppgraderingen måtte omfatte ombygging og kapasitetsutvidelse av hele anlegget. Det finnes ingen sikker oversikt over norske kabelanleggs kapasitet. Utvalget som sto bak NOU 1995:8 Kringkastingssendinger i kabelnett, antok at «det store flertall av kabelnett har en kapasitet på minst 24 kanaler ved analog signaloverføring». Post- og teletilsynets Nettrapport for 1998 oppgir programtilbudet hvert enkelt av Norges 1282 kabelnett tilbyr. Rapporten tyder på at det går et klart skille mellom anlegg med mange tilkoplinger som typisk drives av profesjonelle aktører og mindre anlegg som typisk drives av borettslag, hoteller, aldershjem mv. Nett med mange tilkoblinger har i langt de fleste tilfeller et programtilbud på over 20 kanaler, mens de mindre nettene som oftest har et begrenset programtilbud. Nettrapporten antyder derfor at det for et betydelig antall mindre nett vil være nødvendig med oppgradering dersom man skal kunne tilby digitalt kabelfjernsyn. Flertallet av abonnenter synes derimot å være knyttet til nett som allerede er tilstrekkelig oppgradert.
Digitale kabelnett har en kapasitet som er langt overlegen jordbundne nett og kan formidle et langt større antall kanaler. Kabelnett har dessuten en innebygget mulighet for en returkanal, noe som gir en langt mer hurtig og attraktiv forbindelse for interaktive tjenester.
I Sverige har Telia som er landets klart største kabeloperatør tilbudt digitalt kabelfjernsyn siden januar 1998. Telia subsidierer salget av dekodere etter samme type prispolitikk som man kjenner fra salg av GSM mobiltelefoner, dvs at kunden får dekoderen gratis eller svært billig mot at man binder seg til en relativt kostbar digital programpakke for en lengre periode. Det digitale grunntilbudet inneholder, foruten gratiskanalene som er tilgjengelig over eteren, 40 musikkanaler (lyd), tre internasjonale radiokanaler, sju spill, en shoppingtjeneste, et antall hjemmekinotilbud (pay-per-view) og et utvalg av Internettsider. I tillegg må man betale abonnement dersom man ønsker betalingsfjernsyn. De to største aktørene på kabelmarkedet i Norge, Telenor Avidi og Janco Multicom, har begge annonsert planer for digitalt kabelfjernsyn, men så langt er et slikt tilbud ikke gjort tilgjengelig overfor abonnentene.
2.3.3 Digitalt satellittfjernsyn
Digitalt fjernsyn via satellitt er allerede en realitet her til lands. For å kunne motta digitale satellittsendinger, må seeren abonnere på et programkort for å kunne motta sendingene og investere i mottakerutstyr og maskinvare (antenne og mottaker/dekoder). I de fleste tilfeller påløper også kostnader for installering av mottakerutstyr. Grunnpakken som tilbys over satellitt inneholder allerede samtlige norske allmennkringkastere (NRK1, NRK2, TV2). Med unntak for et fåtall spesialiserte kanaler og enkeltstående program som man må betale særskilt for å se, skiller tilbudet seg lite fra det som er tilgjengelig via satellitt i analog form. Canal Digital, som foreløpig er det eneste foretaket som tilbyr digitale satellittbaserte programpakker, har i en periode subsidiert salg av dekodere og parabolantenner mot at abonnenten binder seg til den digitale programpakken for en viss periode. Det digitale tilbudet har derfor i dag en inngangspris som er lavere enn det analoge satellittbaserte tilbudet. Det er følgelig rimelig å anta at digitalt satellittfjernsyn etter hvert vil tiltrekke seg en stadig større gruppe seere.
På sikt antar man at kapasiteten vil øke kraftig, slik at man i utgangspunktet vil ha tilgjengelig kapasitet til å formidle så mange som, eller flere enn 1000 digitale kanaler. Både interesse, pris, parabolantennens beskaffenhet mv. vil likevel begrense antallet kanaler den jevne seer har mulighet til og ønske om å abonnere på. Ellers er det i prinsippet bare tilbud og etterspørsel i abonnentmassen og reklamemarkedet som setter grenser for hvor mange digitale fjernsynskanaler det er mulig å formidle via satellitt. De interaktive mulighetene i et slikt nett tilsvarer i stor grad de et jordbundet nett kan tilby.
2.3.4 Andre digitale distribusjonskanaler
Lokal mikrobølgedistribusjon (eller LMDS) er en metode som primært egner seg for distribusjon over et ganske begrenset område (innenfor såkalte celler med diameter ca. 2-5 km.). LMDS vil kunne være et alternativ til utbygging av større sendere for å dekke områder med satellittskygge, i områder med frekvensknapphet, eller som et alternativ til kabelnett i små, avgrensede områder hvor utbygging av kabelnett ikke er lønnsomt. LMDS-signaler krever imidlertid fri sikt mellom sender og mottaker, noe som setter grenser for anvendeligheten.
Det pågår betydelig utprøving av og forskning på telenettet som kanal for digitalt fjernsyn. De digitale ISDN-linjene som nå er tilgjengelig for 90% og benyttes av 17% av abonnentmassen i Norge har imidlertid ikke med dagens forutsetninger tilstrekkelig kapasitet til overføring av fjernsyn. Såkalt ADSL-teknologi (Assymetric Digital Subscriber Line) kombinert med en oppgradering av nettet vil legge grunnlaget for en vesentlig økning i kapasitet. En slik utvikling vil kunne gjøre overføring av fjernsyn interessant. Den kapasitet som fjernsynssendinger krever, forutsetter imidlertid en betydelig og kostnadskrevende oppgradering av aksessnettet (dvs. forbindelsen mellom den enkelte husstand og knutepunktene i det overordnede nettet). Telenettet kan således på lengre sikt vise seg å bli en interessant distribusjonskanal for fjernsynssendinger.
Det er rent teknisk mulig å benytte elektrisitetsnettet til å overføre digitale signaler. Det gjenstår likevel svært betydelige problemer knyttet til støy. Det kreves teknologiske gjennombrudd før nettet overhodet kan benyttes som distribusjonskanal for digitale fjernsynssignaler. Dette nettet er altså per i dag intet reelt alternativ for distribusjon til sluttbrukeren.
2.4 Standardisering og standarder
I distribusjonen av digitale sendinger er det mulig å benytte et antall ulike tekniske løsninger som i hvert ledd stiller operatørene overfor valg av ulike tekniske standarder. Et hovedspørsmål i denne sammenheng er i hvilken grad det er mulig å etablere felles, åpne standarder. I valget av standarder er det ikke bare sendingenes tekniske beskaffenhet som spiller inn. Ut fra et konkurransemessig perspektiv vil enkelte aktører velge en proprietær standard (dvs. en standard som ikke lar seg kombinere med andre standarder) for i størst mulig utstrekning å binde kunder til sitt tilbud og dermed å opparbeide, eller forsvare en dominerende markedsposisjon. Tjenestetilbydere og adgangskontrollører som er knyttet til de ulike distribusjonskanalene vil kunne ha interesse av å satse på proprietære system så lenge man øyner muligheten for å oppnå et overtak overfor alternative distribusjonsformer ved tidligst mulig å binde flest mulig kunder til sitt system. Dette er selvsagt en ulempe for de aktørene som kommer sent på markedet og for forbrukeren som dersom hun skulle ønske å skifte distribusjonskanal, vil måtte investere i nytt og dyrt utstyr. Både i et samfunnsøkonomisk perspektiv og fra forbrukerens side er det derfor en ubetinget fordel med så åpne standarder som mulig.
Hovedproblemet er utviklingen av ulike proprietære standarder mellom de ulike digitale distribusjonskanalene (via satellitt, jordbundet nett og kabel). Manglende åpne standarder vil føre til at forbrukeren, så snart hun har investert i utstyr tilpasset en distribusjonskanal, vanskelig kan bytte til en annen uten at dette blir svært kostbart. Innenfor samme distribusjonskanal har aktørene sterkere incentiv for å samarbeide om felles, åpne standarder. Ulike konkurrerende standarder innenfor samme distribusjonskanal vil framstå som mindre attraktivt for potensielle kunder.
Som nevnt tidligere, må publikum anskaffe en særskilt dekoder for å kunne motta digitale fjernsynssendinger. Det er særlig to funksjoner som er innebygd i dekoderen som er gjenstand for problemer knyttet til standardisering. Det dreier seg om den såkalte Application Programme Interface (API) som best kan sammenliknes med operativsystemet i en personlig datamaskin, og om adgangskontrollsystemet, som er systemet som regulerer hvilke tjenester den enkelte mottaker har tilgang til (tilsvarende smartkort som i dag benyttes i analoge satellitt- og kabeldekodere). Åpenhet eller kompatibilitet mellom systemene avgjøres primært av om et sett av dekodere, API og adgangskontrollsystemet er i stand til å »snakke» med et annet.
Viktige aktører har gått sammen om initiativer for standardisering, både på nordisk og på europeisk plan. Den europeiske sammenslutningen DVB-project er en sammenslutning av kringkastere, produsenter, nettoperatører og reguleringsmyndigheter som har gått sammen om å utvikle et helhetlig sett av standarder for distribusjon av alle former for digitalt fjernsyn. En rekke av disse standardene er etter hvert formelt godkjent av the European Telecommunications Standards Institute (ETSI) og av the International Telecommunication Union (ITU). Foreløpig har man likevel innen rammen av DVB-project ikke lagt opp til en felles, åpen standard for adgangskontrollsystem. Inntil standardiseringsarbeidet eventuelt fører fram, betyr dette i praksis at seeren er bundet til en distribusjonskanal, dersom aktørene velger proprietære standarder.
NorDig er et frivillig samarbeidsforum der de viktigste aktørene innen fjernsyn og fjernsynsdistribusjon i Norden deltar. NorDigs mål er å etablere felles åpne nordiske standarder, slik at samme dekoder kan benyttes for mottak via ulike distribusjonskanaler. Hensikten med samarbeidet er å lette overgangen til digital distribusjon ved å gjøre den så enkel og kostnadseffektiv som mulig for forbrukeren og å lage en universell standard for smartkort som benyttes i SMS (Subscriber Management System) og CA (Conditional Access). NorDig la fram spesifikasjoner for en felles åpen standard for dekodere i mai 1998. Enkelte av deltakerne i NorDig har likevel hver for seg lansert proprietære dekodere som kan benyttes til mottak utelukkende via satellitt eller via kabel. De største kringkasterne som har gått inn i NorDig-samarbeidet har imidlertid forpliktet seg til å gå over fra eventuelle proprietære systemer til den åpne NorDig-standarden. En dekoder basert på NorDig-standarden vil ventelig være tilgjengelig høsten 1999. Det gjenstår å se om samtlige aktører som vil inngå i distribusjonskjeden går over til NorDig-standarden. Dette betyr inntil videre at forbrukere som tidlig går over til digitalt fjernsyn risikerer å samtidig binde seg til én distribusjonskanal.
Det er utviklet fjernsynsapparater med integrert dekoder/mottaker (såkalte IDTV). Slike apparater blir etter sigende nå lansert i Storbritannia til en pris av 16.500 kroner. Et annet alternativ er personlige datamaskiner med integrerte kretser som legger til rette for digitalt fjernsyn. Tilbudet eksisterer ikke i form av forbrukerelektronikk i dag, men vil kunne representere et alternativ på sikt.
2.5 Særskilte funksjoner/roller i et digitalt jordbundet fjernsynsnett
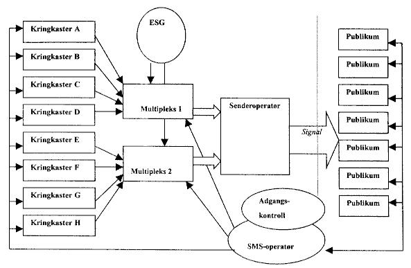
Leddene i distribusjonskjeden i et digitalt jordbundet nett kan framstilles skjematisk på følgende måte:

Figur 2.1
Vi understreker at framstillingen ovenfor først og fremst skal gi en enkel oversikt over de ulike rollene eller aktørene som er nødvendige i et digitalt jordbundet nett. Framstillingen berører altså ikke forhold knyttet til organisering, eierskap og andre formelle eller uformelle relasjoner mellom aktørene. I det følgende vil nøkkelfunksjonene i verdikjeden omtales nærmere. Vi viser for øvrig til kapittel 5 for en nærmere drøfting av behovet for å regulere disse funksjonene.
2.5.1 Innholdstilbydere
Kvalitet og variasjon i programtilbudet vil selvsagt være avgjørende for et digitalt tilbuds suksess. Man vet foreløpig lite om hvilke tjenester som vil bli tilbudt i et digitalt jordbundet nett. Tilbudet kan i utgangspunktet omfatte en rekke ulike tjenester. Det vil blant annet være mulig å tilby attraktiv fjernundervisning, Internettjenester, banktjenester mv. Det er imidlertid mest sannsynlig at brorparten av tilbudet vil komme til å bestå av fjernsyn. Etter konsesjonsrunder i Sverige og England å dømme er det grunn til å tro at et stort antall programforetak vil vise interesse for å kunne tilby tjenester via et digitalt jordbundet nett med tilnærmet riksdekkende dekning. For å sikre at nettet blir benyttet etter forutsetningene, vil det kunne være aktuelt å sette krav til at en viss andel av tjenestene som formidles i nettet skal være fjernsynsprogram. Departementet viser til at det for digital radio er forutsatt i konsesjonsvilkårene som en grunnregel at 90% av kapasiteten skal bestå av programvirksomhet. I perioder med lav trafikk eller etterspørsel etter kapasitet i nettet vil regelen kunne fravikes. Departementet vil legge det samme prinsipp til grunn for et eventuelt jordbundet nett for digitalt fjernsyn.
Vi viser for øvrig til omtalen av aktuelle norske kringkastingsselskaps planer i kap. 3 nedenfor.
2.5.2 EPG-operatør
EPG (Electronic Program Guide) er en funksjon som enkelt forklart presenterer programinformasjon på skjermen. En EPG hjelper altså seeren til å orientere seg om det tilbudet som finnes tilgjengelig. Funksjonen vil normalt fungere slik at seeren, når hun slår på det digitale fjernsynet, først får opp en meny definert av EPG-operatøren på skjermen. EPGen presenterer seeren for en grafisk framstilling av de tjenester som er tilgjengelige og gir seeren mulighet til å velge en fjernsynstjeneste, andre tjenester, eller søke videre i tekst- og bildebasert informasjon. EPGen kan slik sammenliknes med dagens tekst-tv tjenester. En EPG gir imidlertid langt bedre kapasitet, bildekvalitet og oppløsning enn den vi kjenner fra analog tekst-tv.
EPGen vil dessuten ha kapasitet og kvalitet som muliggjør en attraktiv og effektiv presentasjon av tjenester. I et digitalt nett vil det dessuten være mulig å adressere tilbud til individuelle seere eller grupper av seere. Funksjonen vil således kunne fungere som en kanal for markedsføring og salg av programvirksomhet og verdiøkende sekundære tjenester, som for eksempel salg av ulike varer og tjenester, konkurranser, spill med mer. EPG-operatøren innehar en viktig funksjon fordi EPGen vil fungere som en portal som seeren må gjennom før hun kan bruke en hvilken som helst tjeneste. Den måten informasjon er presentert på i EPGen vil således kunne påvirke seeren i retning av visse tilbud framfor andre, for eksempel ved at én tjeneste får en mer framtredende presentasjon på førstesiden. Selv om det teknisk sett ikke vil være noe i veien for at den enkelte seer vil kunne tilpasse EPGen noe etter eget behov, slik man definerer preferanser i en personlig startside på Internett, er det liten tvil om at de(n) som kontrollerer EPGen potensielt vil ha betydelig påvirkningskraft overfor seeren.
Av ulike årsaker vil alle tjenester som sendes i samme multiplekser måtte dele en felles overgripende EPG (en såkalt ESG - Event Service Guide). Denne felles ESGen kan være en relativt enkel menyside som leder videre til den enkelte tjenestetilbyders egne og langt mer avanserte EPG, eller være en felles, mer eller mindre avansert EPG. Det er trolig mest hensiktsmessig at alle tjenester som tilbys over det digitale jordbundne nettet samles om en enkelt overgripende ESG. Ut fra konkurransehensyn er det likevel sannsynlig at enkeltaktører som deler en multiplekser vil ønske å etablere egne ESGer som et alternativ til andre multiplekseres ESG. En ESG som drives av et fåtall aktører vil gi muligheter for å profilere egne tjenester bedre enn om mange aktører deler samme ESG. Imidlertid vil det trolig være ødeleggende for et jordbundet netts konkurranse med andre digitale tilbud å legge opp til utvikling av alternative portaler. Det vil også være i forbrukerens interesse at det blir utviklet en felles, nasjonal ESG.
2.5.3 Multipleksoperatør
Digital kringkasting opphever det entydige forholdet mellom frekvens og fjernsynskanal. I digitale nett vil den kapasiteten et sendernett rommer uttrykkes i megabit per sekund (Mb/s). Den løpende fordeling av tilgjengelig kapasitet til de fjernsynstjenester og øvrige digitale tjenester som er tildelt plass i et digitalt nett administreres av en såkalt multipleksoperatør. Multipleksoperatøren tar imot og håndterer informasjonen som kommer fra tjenestetilbyderne (fjernsynstjenester og andre tjenester) og sender denne videre til senderselskapet. Virksomheten består enkelt forklart i å samle, komprimere, sette sammen og formidle videre informasjonsstrømmene fra senderselskapene innenfor det frekvensområdet operatøren rår over. Det er denne funksjonen som blant annet sikrer god utnyttelse av kapasiteten i nettet, ved komprimering av signaler, oppdatering av de elementer i billedstrømmen som til enhver tid forandres og utnyttelse av ledig kapasitet til andre formål.
I praksis vil det være sendernettoperatøren som står for den rent tekniske bearbeidelsen av signaler, enten i form av en operatørrolle eller på oppdrag fra tjenestetilbyderne. Det avgjørende i denne sammenheng er hvilken aktør som rår over hvordan kapasiteten til enhver tid skal utnyttes. Det er ikke selvsagt at multipleksoperatøren skal være den som disponerer kapasiteten i nettet i tillegg til å oppfylle de rent tekniske funksjonene. Det eksisterer en etterspørsel etter overføringskapasitet for andre tjenester enn rene fjernsynssendinger. Dette innebærer naturligvis at det ligger en kommersiell verdi i ledig kapasitet. Multipleksoperatøren vil kunne besørge annen informasjon i form av digitale signaler til en eller flere mottakere på de tidspunkter det finnes ledig kapasitet i nettet. Det er således avgjørende å vurdere på hvilken måte adgangen til å disponere ledig kapasitet skal reguleres eller konsesjoneres, eller om man vil legge opp til at aktørene kommer fram til frivillige overenskomster seg i mellom.
2.5.4 SMS-operatør/ Adgangskontrollør
SMS (Subscriber Management System) er en funksjon som har vokst fram som følge av behovet for å ta direkte betalt for fjernsynstjenester. Den består i å administrere abonnentmassens tilgang til de ulike tjenester som tilbys. Adgangskontrollen foregår typisk ved kryptering av signaler, smartkort som åpner for dekryptering og kundehåndtering i form av samordning av programpakker og salg av disse. Selv om bare et fåtall av tjenestene i et jordbundet digitalt nett vil være betalingsfjernsyn, er det av opphavsrettslige årsaker nødvendig å kode og regulere adgangen til alle tjenester.
Adgangskontrolløren kontrollerer altså inntektsstrømmen for de tjenester som tilbys. Adgangskontrollører som har etablert systemer beregnet for satellitt- eller kabelbaserte digitale tjenester vil se på programpakker som tilbys over et jordbundet nett som konkurrenter. For å verne om markedsposisjon, vil disse kunne ønske å benytte adgangskontrollsystem basert på proprietær teknologi. Dette vil vanskeliggjøre en overgang til andre programpakker.
Forbrukeren vil tape på at hun ikke uten betydelige kostnader vil kunne bytte fra en distribusjonsform til en annen. Det bør derfor som et minimum legges opp til en felles standard for adgangskontroll innenfor et eventuelt digitalt jordbundet nett. Dette utelukker ikke at det åpnes for at flere enn en enkelt operatør driver adgangskontroll i nettet.
2.5.5 Teletransporttilbyder
Teletransport av signaler vil være nødvendig i flere ledd i distribusjonskjeden, bl.a. mellom programforetak og multiplekser og videre mellom multiplekser og sendernettoperatør. NRK planlegger programfremføring ved fastnettmating (fibernett eller radiolinje) til senderne, slik distribusjonen av NRK1 foregår i dag.
Etter liberaliseringen av telelovgivningen er denne funksjonen åpen for konkurranse. Rollen som teletransportør kan følgelig i prinsippet ivaretas av en hvilken som helst teknisk kvalifisert aktør som fyller vilkårene i telelovgivningen. Programforetakene vil følgelig etter egne forretningsmessige og økonomiske overveielser velge en dertil egnet leverandør av slike tjenester.
Det antas at denne funksjonen ikke vil reise nevneverdige reguleringsmessige utfordringer.
2.5.6 Sendernettoperatør
Sendernettoperatøren er en funksjon som vil måtte ivaretas av en aktør som besitter de nødvendige forutsetninger, bl.a. kunnskap om topografi og sendertekniske forhold, eierskap til grunn og sendere, til å kunne drive et riksdekkende sendernett for digitalt fjernsyn. Departementet viser her til omtalen av sendernettoperatøren i St meld nr 62 (1996-97) kringkasting og dagspresse 1996 mv:
Det selskapet som får konsesjon for utbygging av eit DAB-nett, vil i røynda få ei monopolstilling. Programselskapa vil i praksis ikkje ha andre alternativ med omsyn til distribusjon av digitale radiosignal enn å nytte selskapet sitt nett. Vanlegvis vil det vere aktuelt å innføre ei eller anna form for regulering av slike monopol, for å hindre at monopolet misbruker denne rolla til å krevje urimelege priser for leige av kapasitet.
Norkring er i dag trolig det eneste realistiske alternativ som nettoperatør for riksdekkende digitalt jordbundet fjernsyn. Selskapet befinner seg dermed i en monopolsituasjon. Dersom Norkring velges som sendernettoperatør for digitalt jordbundet fjernsyn, vil Telenor, som eier av Norkring, styrke sin stilling som dominerende distributør av kringkastingssignaler i Norge. Departementet vil i samråd med telemyndighetene vurdere hvordan sendernettoperatøren for digitalt jordbundet fjernsyn skal reguleres.