5 Velferdsrelaterte tjenester - nåværende oppgaver og organisasjon
5.1 GENERELT
Forsvaret omfatter en rekke ledd som yter velferdsrelaterte tjenester overfor personellet. Organisatorisk har disse ledd forskjellig struktur og tilknytning, men ute ved avdelingene er de i stor grad samordnet og gitt fellesbetegnelsen VUPIKT, som står for velferdstjeneste, undervisning (voksenopplæring), prestetjeneste, idrett, kantinetjeneste og tillitsmannsordning. I det følgende er det gitt en kort beskrivelse av de enkelte leddenes oppgaver og organisasjon i dag. Deres rolle i det fremtidige totale velferdstilbud til personellet vil bli drøftet i kap 7.
5.2 STATENS KANTINER (SK)
Kantinetjenesten i Forsvaret ble etablert i desember 1946. Virksomheten ble gitt navnet Forsvarets Kantiner (FK). I 1948 ble de første vedtekter utarbeidet og virksomheten fikk status som eget rettssubjekt - økonomisk selvbærende. Frem til 1953 hadde FK selv hånd om det bygningsmessige ansvar, men dette ble da overført til Forsvarsdepartementet. Fra 1964 skjedde en vesentlig endring, idet virksomheten fra det tidspunkt omfattet også statlige lunsjrom.Virksomheten fikk fra 1964 navnet Statens Kantiner (SK). I 1971 gjennomgikk SK større organisasjonsendringer. Økonomien ble atskilt for hhv kantine- og lunsjromssektoren. Diverse utgiftsarter ble overført til Forsvaret. Forsvarsdepartementet fastsatte priser på deler av vareutvalget, og kravet til driftsmessig balanse ble ikke lenger gjort ubetinget. Ved samme anledning ble det opprettet kantineråd, hvor de vernepliktige mannskaper fikk en sentral posisjon.
SK foretok i 1982 en ytterligere presisering av organisasjonsmodellen ved at Forsvarets Kantiner og Statens lunsjromstjeneste ble opprettet som egne avdelinger av Statens Kantiner. Forutsetningen var at sektorene skulle være mer selvstendige enn tidligere.
Målsettingen for Forsvarets Kantiner er som følger:
Kantinetjenesten er et ledd i velferdsarbeidet for de militære mannskaper, og kan dessuten betjene befal og sivilt ansatte i Forsvaret.
Kantinetjenesten etableres normalt ved alle forlegninger som har mannskaper i tjeneste.
Kantinetjenesten skal stille hyggelige lokaler til rådighet for mannskapene, og på fordelaktigste måte skaffe personellet varer og tjenester som det ikke tilkommer vederlagsfritt.
For serveringsvarer og de viktigste butikkvarer skal holdes ensartede priser ved alle mannskapskantiner og utsalg.
Mannskapene er kantinens hovedbrukere, og kantinetjenesten må innenfor rammen av de økonomiske muligheter utformes med sikte på å tilgodese deres behov.
Ved etablering av kantiner skal
hovedvekten legges på den velferdsmessige side
økonomiske hensyn tas med i vurderingen.
Det skal gis tilfredsstillende tilbud med hensyn til
åpningstider
vareutvalg og tjenester
moderat prisnivå på serveringsvarer.
For å opprettholde en tilfredsstillende standard for kantinene i Forsvaret med hensyn til åpningstider, tilbud på varer og tjenester og et moderat prisnivå på serveringsvarer, er det nødvendig å yte tilskudd til driften over forsvarsbudsjettet
I de lokale kantinerådene sitter representanter for de vernepliktige, ledelsen og øvrige ansatte. Av aktuelle saker for samarbeid/drøfting i kantinerådet kan nevnes:
Uttalelse om aktuelle bygningstekniske arbeider, møblering, utstyr og utsmykning mm, med sikte på å gjøre kantinen så trivelig som mulig.
Spørsmål i forbindelse med åpningstider for kantine, kiosker og andre utsalg i lys av kantinens økonomi og lokale behov.
Spørsmål om vareutvalg og serviceytelser sett i lys av spesielle lokale behov.
Behandling av spørsmål vedrørende driftsutstyr med sikte på å oppnå bedre dekning av mannskapenes behov ut fra lokale hensyn.

Figur 5.1 Figur 5.1: Statens kantiners organisasjon
Styret har 8 medlemmer (kun 7 har vært oppnevnt de senere år). Formannen er utpekt av FD. Direktøren for SK er medlem. De øvrige representerer hhv Administrasjonsdepartementet, Forsvaret, kundene og de tilsatte.
Forsvarets kantiner omfatter 57 kantiner og 4 permisjonssteder med tilsammen omlag 100 utsalg og 190 varmdrikk/mineralvannsautomater, samt kantinekasser. Vareomsetningen i 1993 var på ca 170 mill kroner og leieinntektene ca 6 mill. Det bevilgede tilskudd til FK's drift av mannskapskantiner i 1994 er på ca 14,0 mill kroner.
I tilknytning til den pågående omstrukturering av Forsvaret vil en rekke avdelinger med kantinedrift bli nedlagt eller slått sammen med andre. Samtidig vil antall vernepliktige som avtjener førstegangstjenesten reduseres. Dette vil medføre et behov for innskrenkninger også innenfor FKs organisasjon. Det vil bli nødvendig med en effektivisering av driften for å få kompensert for de reduksjoner som nå gjennomføres.
Det fremgår av Stortingsmelding nr 55 (1992-93) Styrings- og organisasjonsformer for forvaltninger og fellesinstitusjoner i Forvaret, at også Statens Kantiners organisasjon skal vurderes. En egen styringsgruppe og prosjektgruppe er etablert for å utrede bl a nye vedtekter og styringsinstruks, samt mer hensiktsmessig styrings- og organisasjonsform.
5.3 VOKSENOPPLÆRINGEN
Sivilopplæringen i Forsvaret ble etablert i sin nåværende form 1. oktober 1955. I 1976 ble navnet endret til Voksenopplæringen i Forsvaret.
Med bakgrunn i virksomhetens regelverk, TfF undergruppe 414, skal Voksenopplæringen bidra til personellets utvikling når det gjelder:
kunnskap om mulighetene for videreutdanning og yrkesliv.
kompetanse for videreutdanning og yrkesliv.
selvstendig innsats i samfunnslivet.
en rikere fritid.
Voksenopplæringens primære målgrupper er:
vernepliktige mannskaper under førstegangstjenesten
vervede
kontraktsbefal
som sekundære målgrupper regnes:
fast tilsatt befal
fast og midlertidig tilsatte sivile
nærmeste familie til ovennevnte
sivile i lokalsamfunnet.
Voksenopplæringen ledes av kontorsjefen ved Voksenopplæringskontoret i Forsvarets overkommando/Personellstaben (FO/P9) og tre voksenopplæringssjefer - en for hver forsvarsgren. I tillegg er fire konsulenter knyttet til Voksenopplæringens sentrale ledd.
Ved de største tjenestestedene er det tilsatt 42 rektorer som har det faglige ansvar for Voksenopplæringen ved eget tjenestested og eventuelt faglig underlagte avdelinger. Rektorene er direkte underlagt avdelingssjefen. Faglig foresatt er forsvarsgrenens voksenopplæringssjef.
Ved de mindre tjenestestedene uten rektor ivaretas Voksenopplæringen av en kontaktperson på deltid.
Ellers tjenestegjør ca 100 vernepliktige undervisningsassistenter foruten ca 15 undervisningskonsulenter/kontorpersonell.
Av undervisningspersonell er bare 24 faglærere tilsatt på heltid. Ellers baserer man seg på timelærere - ca 1650 pr år.
Det ble i 1993 gitt følgende opplæring i Voksenopplæringens regi:
| Høyere utdanning: | 108 kl. med 2290 elever |
| Videregående skole: | 339 kl. med 4479 elever |
| Yrkesrettet opplæring: | 2004 kl. med 26279 elever |
| Hobbykurs: | 187 kl. med 2748 elever. |
Til Voksenopplæringens drift medgikk i 1993 106,3 millioner kroner. Av disse var ca 2 mill nyttet til trafikksikkerhetsarbeid i Forsvaret.
Undervisningslokaler disponeres stort sett i Forsvarets egne bygninger.
Utgifter til materiell og utstyr dekkes av de ordinære driftsmidler til Voksenopplæringen.
Det er et utstrakt samarbeid med skoleverket og Voksenopplæringen i kommunene. Omfanget varierer imidlertid tjenestestedene imellom.

Figur 5.2 Figur 5.2: Voksenopplæringens faglige organisasjon
5.4 FELTPRESTTJENESTEN
Ved vedtak 6 juli 1953 gav Stortinget sitt samtykke til Forsvarsdepartementets forslag om opprettelse av et eget Feltprestkorps (FPK).
FPK rullefører og forvalter ordinerte prester i Den norske kirke, prester og forstandere i registrerte trossamfunn, teologer, teologistudenter og annet tildelt personell.
FPK's oppgave er å lede og utføre feltpresttjeneste i Forsvaret i samsvar med den norske kirkes orden.
Fagområdet omfatter:
Kirkelige handlinger, geistlig virksomhet, sjelesorg, moral, sosialetisk orientering, karakterdannelse og samvirke med sivil religiøs virksomhet.
Formålet med feltprestjenesten er å utøve en fullverdig kirkelig tjeneste overfor Forsvarets personell i krig og fred. På denne bakgrunn skal feltprestkorpset:
utøve kirkelig forkynnelse, diakoni og undervisning.
gjennomføre en feltpresttjeneste som fungerer etter sin hensikt ved beredskap og i krig.
utvikle motiverte medarbeidere med pastoral og fagmilitær dyktighet på alle nivå i feltprestkorpsets organisasjon.
organisere en logistikktjeneste som dekker de operative behov i krig og fred.
tydeliggjøre Feltprestkorpsets kirkelige identitet.
Feltprestenes virksomhet når det gjelder personellomsorg overlapper til dels Velferdstjenestens, særlig med hensyn til aktiviteter som møter og kameratkvelder, samtaler og sjelesorg. Feltprestene er også engasjert i behandling av sosialsaker hvor deres oppgaver bl a er omtalt slik i Bestemmelser for Feltprestkorpset::
«Feltprestens engasjement i sosialsaker er en del av Kirkens diakonale virksomhet, og således en legitim og viktig del av feltpresttjenesten. I behandling av sosialsaker er feltprestens oppgave å gi det militære personell relevant bistand, ikke å være Forsvarets saksbehandler.
Feltpresten må under utførelsen av sin tjenste respektere den tillit han blir vist av personellet, og under den forutsetning søke et godt samarbeide med:
velferdsoffiser
personelloffiser
avdelingssjef
lege og annet sanitetspersonell
militærpoliti
sivil prest på hjemstedet
andre som kan bistå med problemløsning
Feltprosten er sjef for Feltprestkorpset. Han er kommandomessig underlagt Forsvarssjefen og er hans rådgiver i kirkelige og etiske spørsmål. Samtidig er FPK i kirkelig sammenheng et prosti i Oslo bispedømme under overtilsyn av Oslo biskop. I Forsvarets overkommando inngår stabsleddet Feltprost som en avdeling i Personellstaben (FO/P10).
Landet er delt i fem distrikter som omfatter landsdelene Østlandet, Sørlandet, Vestlandet, Trøndelag og Nord-Norge. I hvert distrikt er det en garnisonsprest som faglig og kommandomessig står under Feltprosten.
Ved større oppsatte avdelinger i fred tilsettes dessuten feltprester som faglig står under FPK, men administrativt og kommandomessig under vedkommende militære sjef. Feltprestkorpsets budsjett for 1994 er på 11,5 mill kroner.
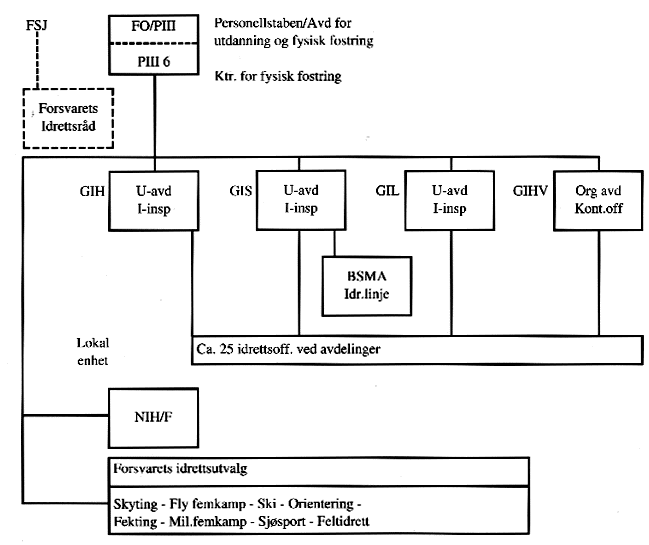
5.5 IDRETTSTJENESTEN
Idrettstjenesten har ansvaret for gjennomføringen av den fysiske fostring i samsvar med Forsvarssjefens grunnsyn på Fysisk Fostring i Forsvaret og etter de regler som er fastlagt i TfF gruppe 43.
Målet med den fysiske fostring er å gi befal og mannskaper et nødvendig fysisk grunnlag for å kunne løse sine oppgaver i fred og krig, samt å motivere til å holde vedlike en tilfredsstillende fysisk standard gjennom hele vernepliktstiden. Målet er også å gi kunnskaper om den fysiske trenings virkning og betydning.
Med fysisk fostring menes all aktivitet som under den daglige tjeneste og i fritiden bidrar til å heve den enkeltes fysiske yteevne og dermed også bidrar til å heve den psykiske motstandsevne. Inn under tjenestefeltet fysisk fostring hører fysisk trening (idrett og militær ferdighetstrening), fritidsidrett, idrettskonkurranser, fysiske prøver, idrettsutdanning og kurs, administrasjon av de samme aktiviteter og nødvendig anlegg og materiell.
Vernepliktige mannskaper skal ha minst to timer effektiv fysisk trening pr uke i tjenestetiden. Denne treningen skal være planlagt og ledet.
Fritidsidretten skal for de vernepliktige organiseres med sikte på å:
aktivisere utenfor tjenestetiden
motivere til fortsatt fysisk aktivitet etter endt førstegangstjeneste
kvalifisere for deltagelse i idrettskonkurranser.
Ansvaret for organiseringen av en kontrollert og ledet fritidsidrett tilligger avdelingssjefer på alle plan. Tillitsmannsutvalgene behandler saker som vedrører fritidsidretten, som for eksempel:
valg av idrettsaktiviteter og idrettsgren
samarbeid/kontakt med sivile idrettslag
valg av tillitsmenn/utvalg for spesielle idrettsaktiviteter
tilrådinger for disponering av midler stilt til rådighet for fritidsidretten over velferdskonto
tilrådinger i forbindelse med vedlikehold og drift av idrettsanlegg.
Idrettsmateriellet brukes både i tjeneste og fritid. Det er ikke avsatt spesielle midler til fritidsidrett. Man er i stor grad avhengig av samarbeid med Velferdstjenesten.

Figur 5.3 Figur 5.3: Idrettstjenestens faglige organisasjon
Forsvarssjefen har det overordnede ansvar for den fysiske fostring i Forsvaret og legger forholdene til rette i første rekke ved prioritering av oppgaver og tiltak. Han fastsetter generelle fysiske krav for alt personell.
Sjefen for Avdeling for utdanning og fysisk forstring i Personellstaben (FO/PIII) har det faglige ansvar for tjenestefeltet fysisk fostring. Sjef FO/PIII er faglig foresatt for Forsvarets Institutt ved Norges idrettshøgskole (NIH/F) på det militæridrettslige område.
Generalinspektørene skal som ansvarlig for utdanningen i de respektive forsvarsgrener sørge for:
at den fysiske fostring blir innarbeidet som naturlig del av virksomheten ved skoler, kurs, staber og avdelinger/fartøy (tilsv)
at det etter behov fastsettes spesielle krav for enkelte funksjoner/ kategorier, og at det blir kontrollert at kravene blir fylt
at elever ved grunnleggende befalsutdanning gjennomgår Norges Idrettsforbunds (NIF) opplegg for utdanning av treningsledere
at mannskaper på frivillig basis gis anledning til å gjennomgå NIF's kursopplegg for utdanning av treningsledere, trener og administrative ledere
at gjennomføring og kontroll av den fysiske forstring ved underlagte ledd skjer i samsvar med gitte direktiver
at forholdene legges tilrette for en aktiv og ledet fritidsidrett.
Sjefene ved de enkelte enheter er ansvarlige for at den fysiske trening i tjenestetiden blir gjennomført i henhold til gjeldende program og direktiver, at forholdene ved avdelingen blir lagt til rette for en aktiv og ledet fritidsidrett og at fysiske prøver gjennomføres etter gjeldende direktiver.
5.6 TILLITSMANNSORDNINGEN I FORSVARET (TMO)
Tillitsmannsordningen i Forsvaret er et upolitisk samarbeidsorgan mellom vernepliktige mannskaper og Forsvarets ledelse på lokalt og sentralt plan. Formålet med TMO er:
å styrke fellesskapet og bidra til et godt og tillitsfullt forhold mellom befal og mannskaper.
å fremme personellets trivsel og medinnflytelse i deres tjenesteforhold, for gjennom dette å øke avdelingens og Forsvarets effektivitet.
TMOs virksomhet omfatter forhold som har betydning for samhold og trivsel under tjeneste og i fritid, og for tiltak som kan øke avdelingens effektivitet og bidra til en best mulig utnytting av tjenestetiden. Saker som faller utenfor Forsvarets virkeområde kan ikke behandles i TMO. Partipolitiske eller forsvars- og sikkerhetspolitiske spørsmål kan heller ikke tas opp. Spørsmål som har direkte med de vernepliktiges forhold under militærtjenesten å gjøre, kan behandles. Den praktiske ramme for arbeidet vil være saker som:
har tilknytning til velferdstjenesten
er av betydning for mannskapenes økonomiske og sosiale kår
angår permisjon og fritid
vedrører den daglige tjeneste og tjenestens innhold
bidrar til et godt forhold mellom avdelingen og lokalbefolkningen.
TMO er primært en organisasjon på avdelingsplan, bygget opp med sikte på å løse problemer som oppstår ved Forsvarets lokale virksomhet. Avdelingens sjef er ansvarlig for gjennomføring av TMO.
Ved alle avdelinger/skoler/enheter hvor det tjenestegjør vernepliktige, og ved skoler som gir grunnleggende befalsopplæring, skal det opprettes tillitsmannsutvalg. I alle tillitsmannsutvalg reguleres avdelingens/administrasjonens representasjon slik at mannskapenes tillitsvalgte er i flertall. Ved større avdelinger og skoler opprettes det i tillegg til lokale utvalg på kompaninivå også et fellesutvalg.
På det sentrale plan blir samarbeidet mellom vernepliktige og Forsvarets ledelse ivaretatt gjennom Landsutvalget for tillitsvalgte i Forsvaret (LTF) og Landsutvalget for tillitsvalgte i Forsvaret/Sekretariatet (LTF/S), samt en årlig Landskonferanse for tillitsvalgte i Forsvaret (LK). Sekretariatet er organisasjonsmessig plassert i FD.
Distriktsutvalg inngår i TMO som interne regionale arbeidsutvalg. Distriktsutvalgene kommer sammen til forberedende møter foran hvert ordinære møte i Landsutvalget.
Det kan etter behov arrangeres møter hvor de vernepliktige kan drøfte lokale problemer, innenfor et videre område, med representanter for ledelsen/myndighetene.
FD kan gi tillitsmannsutvalgene avgjørelsesmyndighet på visse områder. Forøvrig vil drøftinger innenfor TMO har form av tilrådinger og uttalelser. I samsvar med dette er fellesutvalg innen tildelte midler og gjeldende bestemmelser tillagt avgjørelsesmyndighet når det gjelder:
disponering og bruk av velferdskonto
opplegg av fritidskurser
opplegg av fritidsidrett
abonnement av aviser og tidsskrifter
opplegg av langsiktig film-/videprogram.
Sjefen kan dessuten delegere myndighet til utvalget på andre områder. Utvalg eller møter kan selv ikke utvide saksområdet i forholdet til de retningslinjer som er fastlagt i bestemmelsene. Videre kan saker og klager vedrørende enkeltpersoner ikke tas opp i møter i tillitsmannsutvalg.
Befalet deltar i TMO som representanter for sin avdeling/enhet. Sjefen oppnevner, etter samråd med sitt befal, de befalingsmenn som skal representere avdelingen/enheten.

Figur 5.4 Figur 5.4: TMOs organisasjon
5.7 DELKONKLUSJON
Hensikten med den foregående redegjørelse har vært å gi en beskrivelse av de organiserte velferdsrelaterte tjenester som i dag tilbys Forsvarets personell, i tillegg til de tilbud som gisav Velferdstjenesten. En del andre tilbud hører også med her, så som reiserabatter og gratis hjemreiser.
De fakta som det er redegjort for vil, sammen med andre relevante faktorer, danne grunnlaget for den etterfølgende drøfting av rammene for det fremtidige velferdstilbud og av Velferdstjenestens fremtidige oppgaver og organisasjon.
Det må kunne slås fast at Forsvaret i dag har et bredt velferdstilbud til personellet, og at betydelige ressurser nyttes til å opprettholde dette tilbudet. Med de økonomiske innstramningerForsvaret nå står overfor, vil det bli tvingende nødvendig å samordne innsatsen bedre på dette området slik at en oppnår størst mulig effekt av disponible midler. Utvalget har inntrykk av at det lokalt foregår et utstrakt samarbeid mellom VUPIKT-tjenestene, mens det sentralt synes å være mulig å oppnå en større grad av samordnet innsats. Utvalget vurderer i innstillingen om mulighetene for en ytterligere samordning er tilstede. I dag har de tjenester som er omtalt forskjellig organisasjonsmessig struktur og tilknytning. En samordning på dette området vil også måtte vurderes.